1. Анализ существующих конструкций и обоснование усовершенствования
Назначение отстойника: Разделение нефтяной эмульсии на нефть, пластовую воду и газ. Основной принцип - гравитационное разделение фаз благодаря разности плотностей.
Конструкция базовой модели (ОГ-200С): Горизонтальная стальная цилиндрическая емкость (Ø 3400 мм, объем 200 м³), разделенная перегородкой на два отсека:
- Левый (I): Сепарационный отсек. Здесь происходит предварительное отделение газа.
- Правый (II): Отстойный отсек. Здесь происходит окончательное разделение нефти и воды.
Выявленный недостаток: Низкая степень дегазации пластовой жидкости в сепарационном отсеке, что снижает общую эффективность аппарата [1, с. 158].
Метод решения: Применение метода фокальных объектов для генерации идей. В результате анализа наилучшим решением признана установка батареи гидроциклонов перед газосепаратором.
2. Разработка усовершенствованной конструкции
2.1. Суть усовершенствования:
В левый сепарационный отсек отстойника интегрируется батарея мультигидроциклонов, устанавливаемая на пути потока эмульсии перед существующим газосепаратором.
2.2. Принцип работы усовершенствованного отсека:
- Подогретая нефтяная эмульсия поступает через штуцер в батарею гидроциклонов.
- В гидроциклонах за счет создания центробежных сил происходит интенсивное предварительное отделение газа от жидкости. Поток тангенциально входит в элементы, происходит вращение, тяжелая фаза (жидкость) отбрасывается к стенкам, а легкая (газ) концентрируется в центре.
- Частично дегазированная жидкость и отделенный газ затем поступают в стандартный газосепаратор, где завершается процесс разделения фаз.
- Далее технологическая схема не меняется: дегазированная эмульсия через коллекторы поступает в отстойный отсек для окончательного разделения нефти и воды.
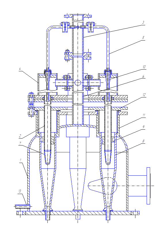
2.3 Устройство мультигидроциклона
Ключевым компонентом гидроциклонной установки является сепарирующий гидроциклонный элемент (Рисунок 1). Каждый элемент 8 устанавливается в специальный контейнер и оснащён сливной камерой 4, которая соединяется с контейнером посредством фланцев. В конструкции предусмотрен завихритель, чья работа основана на сужающейся винтовой канавке для обеспечения пленочного истечения жидкости. Мультигидроциклон имеет тангенциальный входной патрубок для равномерного распределения потока по всем элементам 8.
Гидроциклонный аппарат состоит из четырёх гидроциклонных элементов 8, смонтированных в общем корпусе 1 и соединённых сливными камерами 4 с газосборной камерой 3. Тяжёлая фаза выводится через опорный штуцер, а лёгкая парогазовая - собирается в камере 3.
Каждая сливная камера 4 соединена с элементом 8 через сливную трубку с коническим наконечником. Наконечник имеет наружную поверхность из конусов 1 и 2, образующих ребро 3, и внутреннюю поверхность, начинающуюся с тороидальной формы 4, которая образует ребро 5 с конусом 2. Такая конструкция способствует отделению мелких капель: они концентрируются на поверхности, укрупняются и сбрасываются в периферийную зону. Центральный газовый поток проходит через обтекаемую тороидальную поверхность без значительных препятствий.

Рисунок 1. Установка гидроциклонная
2.3. Ожидаемые преимущества новой конструкции:
- Повышение эффективности сепарации: За счет центробежного эффекта в гидроциклонах достигается более высокий процент отделения газа на начальной стадии.
- Увеличение производительности: Интенсификация процесса дегазации позволяет сократить время отстоя или увеличить пропускную способность.
- Повышение надежности: Более полное удаление газа снижает нагрузку на последующие ступени сепарации и отстоя.
2.4. Технологические аспекты монтажа и ремонта:
Монтаж: Гидроциклонная установка монтируется на существующий патрубок отстойника с помощью фланцевого соединения (Dy=300 мм, Py=0,6 МПа). Требуется равномерная затяжка болтов, исключение нагрузок на подводящие трубопроводы и последующие гидравлические испытания.
Обслуживание и ремонт: Основное внимание уделяется контролю показаний КИП. В случае ремонта корпуса или гидроциклонов регламентированы методы выявления дефектов (визуальный, ультразвуковой, капиллярный контроль) и способы их устранения (заварка, наплавка, установка "латок", замена штуцеров) [2, с. 223].
3. Безопасность и экологичность проекта
Основные опасности: Образование взрывоопасных смесей паров нефти с воздухом, разгерметизация, механические травмы, шум, вибрация, поражение электрическим током.
Мероприятия по безопасности:
- Использование средств индивидуальной (СИЗ) и коллективной защиты (СКЗ).
- Оснащение приборами контроля, блокировками, сигнализацией.
- Регулярный инструктаж персонала.
- Плановое техническое обслуживание и ремонт.
Мероприятия по экологии:
- Сбор конденсата и отходов в закрытые емкости.
- Запрет на выброс сероводородсодержащего газа без нейтрализации.
- Утилизация загрязненных грунтов и отходов на специальных полигонах.
4. Заключение
В результате разработки:
- Повышается эффективность и надежность работы отстойника.
- Обеспечиваются требования безопасности и экологичности за счет проведенных расчетов и предложенных организационно-технических мероприятий.
- Предложенная модернизация является технически реализуемой с учетом рассмотренных вопросов монтажа, обслуживания и ремонта.
Усовершенствованный отстойник соответствует современным тенденциям интенсификации технологических процессов в нефтедобыче.
Список литературы
- Байков Н.М. Сбор, транспорт и подготовка нефти: учеб. пособие / Н.М. Байков, Б.В. Колесников, П.И. Челпанов — М.: Недра, 1975. – 320 с.
- Расчет и конструирование оборудования для эксплуатации нефтяных скважин: учеб. пособие / К.С. Аливердизаде, А.А. Даниелян [и др]. — М.: Гостоптехиздат, 1959. – 564 с.


